passiv-solare Gebäudekühlung u. -heizung
Camacha | Porto Santo | Portugal
Baujahr 1987-88
Dem Gebäudeentwurf liegen die Erkenntnisse aus dem ersten solaren Forschungsgebäude Porto Santos zu Grunde, das 1984/85 als Werkstatt- und Konferenzgebäude für die Arbeitsgruppe «Energias Renovavais» der Região Autónoma da Madeira erreichtet wurde.
Wie beim Forschungsgebäude werden bei der Vivenda in Camacha durch architektonische und baukonstruktive Maßnahmen die Kühllast im Sommer sowie die Heizlast im Winter minimiert: Das Gebäude öffnet sich trichterförmig nach Süden in Grund- und Aufriss, um die flach stehende Wintersonne möglichst lange und möglichst weit aufnehmen zu können. Gleichzeitig wird bei hoch stehender Sommersonne durch die nach Nordost bzw. Nordwest orientierten Seitenwände mit den großen Dachüberständen und durch die durch die lange Südseite der Wärmeeintrag durch die Außenwände niedrig gehalten. Ausserdem targen Berankunegn zur Vvermeidung unerwünschter thermischer Aufheizung im Sommer bei.
Die Innenschale des zweischaligen Außenmauerwerks wurde zur Erhöhung der thermischen Masse mit Sand gefüllt. Während die äußere Schale im Sommer die innere durch Beschattung auf niederem Temperaturniveau hält, trägt die zwischen den Schalen eingeschlossene Luftschicht im Winter zur Wärmedämmung bei.
Durch die Aufteilung des Gebäudegrundrisses in verschiedene Temperaturzonen wird der Heiz- und Kühlenergiebedarf minimiert: Räume, die nicht geheizt werden sollen (Schlafraum und Hausarbeitsraum) und Nebenräume (Eingangsdiele und Bad) werden im kühleren Nordbereich angeordnet, während alle anderen Aufenthaltsräume sich nach Süden bzw. Westen orientieren und dadurch im Winter mit Hilfe von Trombe-Wänden passiv-solar beheizt werden können.
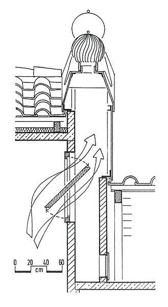
Im Sommer wird der Hauptwohnraum durch ein passiv-solar betriebenes, konvektives Lüftungssystem gekühlt: Durch die Raumüberhöhung im Zentrum wird die im Sommer erwärmte Raumluft über Wandöffnungen in die sog. Solarkamine gelenkt und so nach außen abgelüftet. Werden die Solarkamine besonnt, so beschleunigt der durch die Erwärmung entstehende Auftrieb die Entlüftung des Raumes. Aspiromaten auf dem Schornsteinkopf stellen die kontinuierliche Entlüftung auch bei warmem aber bedecktem Wetter sicher, da sie durch die aufströmende Luft oder durch Wind in Rotation versetzt werden. Am Sommertag wird auf diese Weise Frischluft in den Wohnraum eingespeist, die ein eingegrabenes Rohrregister durchströmte und hier gekühlt und entfeuchtet wurde. In der Sommernacht wird durch die Querlüftung über Rohrregister und Abluftkamin die am tag akkumulierte Wärem und Feuchte wieder abgeführt.
Weder Gebäudekühlung noch -heizung benötigen zusätzliche Energie und steuern sich selbst: Im Sommer bewirkt intensiver Sonnenschein die optimale Funktion des Lüftungssystems bei gleichzeitig größtem Kühlbedarf und im Winter reicht schon diffuse Strahlung aus, um einen Wärmeeintrag über die Trombewände zu erzielen.
Zur Beheizung im Winter werden Trombe-Wände und Fenster mit zugeordneten Speichermassen als Direktgewinnsysteme eingesetzt.
Das Gebäude verfügt über ein eigenes Grauwassernutz-System.










